top of page
About Us
Case Studies: 2. Medical Device Patents
Inventions relating to surgical instruments for use in Hip Arthroplasty Surgery.
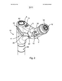
2.2 Neck Trial Locking Mechanisms - WO2022167936A1:
Key Excerpt:
"A lever of the locking mechanism of the trial neck may provide a secure way of attaching the trial neck to a femoral canal implement. The lever can allow a sufficient securing force to be applied to the femoral canal implement within the bore, while also allowing fine adjustments to be made."
bottom of page



